Клиновые задвижки из стали 20 – трубопроводная арматура обозначения ЗКС в исполнении из углеродистой конструкционной стали, предназначенная для управления потоками сред в жидком и газообразном агрегатном состоянии, выполняет запорную функцию без регулировки потока. Область применения в умеренном климате (У1) на общепромышленных трубопроводах малого диаметра с транспортировкой неагрессивных рабочих сред с давлением от 1,6 до 25 МПа, используются в основном в нефтегазовом секторе промышленности.
Материал исполнения деталей — углеродистая сталь 20, прошедшая обработку прокатом или ковкой металла до однородной пористости, что придаёт металлу повышенную прочность, т.е., приводит металл в прокатную или кованую сталь (поковки), из которой изготавливаются детали компактных задвижек клиновых 31с45нж, ЗКС 31с77нж.

|
Общепромышленное обозначение задвижек ст.20 |
Условный проход, Ду (мм) |
Давление Ру (кг/см2)
|
Исполнение – сталь 20 |
Присоединение к трубопроводу |
| 1 |
ЗКС 31с45нж |
15, 20, 25, 32, 40
|
160, 250 |
Прокатная |
Муфтовое, фланцевое, под приварку
|
| 2 |
ЗКС 31с77нж |
160 |
Кованая |
Особенности задвижек ст.20, характеристики:
- Тип трубопроводной арматуры: ЗКС – задвижка компактная (кованая) стальная высокого давления с ручным управлением, функция запорная без регулировки потока.
- Изготовление и поставка: ТУ 3741-003-27844275-2014.
- Условное давление сред (Ру): 16 — 250 кг/см2.
- Условный проход (Ду) – 15, 20, 25, 32, 40 мм.
- Исполнение корпусных деталей: конструкционная прокатная или кованая сталь 20.
- Климатическое исполнение (ГОСТ 15150): У1 (-40°С до +40°С).
- Рабочие среды: неагрессивные жидкие и газообразные с температурой от – 40 до +425 градусов Цельсия.
- Герметичность: класс А.
- Присоединение фланцевое с комплектацией КОФ и метизом, муфтовое ½ - 1 ½, под приварку.
Параметры надёжности:
- Назначенный срок службы 30 лет;
- Наработка на отказ 800 циклов;
- Установленный средний ресурс 3000 циклов;
- Гарантия 12 месяцев со дня ввода в эксплуатацию;
- Гарантия консервации (масло к-17) — 24 месяца.
Продукция проходит обязательный выходной контроль на герметичность по классу А, поставляется во все регионы РФ и страны Таможенного Союза.
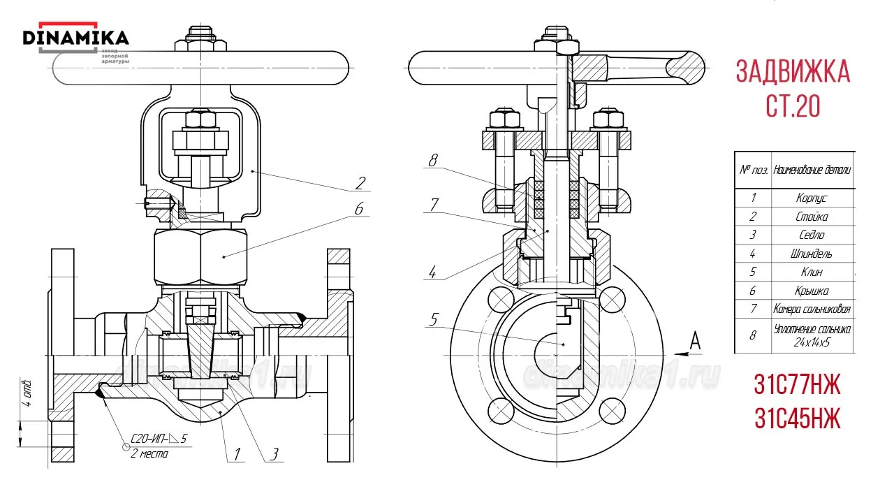
Конструкция задвижки ст.20
Конструкций задвижек из стали 20 два вида — с бугельным сальниковым узлом или внутренним уплотнением выдвижного шпинделя, в остальном они практически не отличаются, являются разборными и пригодными для ремонта, что делает их удобными в сервисном обслуживании. В большей части изготавливают с сальниковой камерой (бугель), чертёж-эскиз которой представлен ниже.

Особенности конструкции ЗК ст.20 по эскизу—чертежу:
- Конструкция малогабаритная и компактная и состоит из корпуса, верхней части – стойки (2) с сальниковой камерой, и корпуса (1), которые стягиваются между собой резьбовой крышкой (6). Материал исполнения деталей сталь 20.
- Особенность фланцевого исполнения конструкции задвижки ст.20 — фланцы привариваются к корпусу на этапе металлообработки.
- На выбор три присоединения: резьбовое (муфта), фланцевое, и приварное.
- Тип задвижки клиновой — с выдвижным шпинделем (4) из стали 20х13; при заказе стоит учитывать большую строительную высоту в открытом состоянии.
- Бугельный узел — сальниковая камера (7) с уплотнением шпинделя ТРГ (8), что разрешает применение ЗК с высокотемпературными рабочими средами.
- Проход прямоточный, незначительно размер уменьшен в месте посадочных сёдел (3).
- Сёдла (3) изготовлены отдельно из высокопрочной нержавеющей стали (20Х13) и установлены в корпус резьбовым методом.
- Затвор—Клин (5) жёсткого исполнения изготовлен из цельного металлопроката высокопрочной нержавеющей стали 20Х13Л.
Размеры изделий запрашивайте заявкой в отдел продаж, работаем индивидуально по каждой заявке с согласованием чертежа.
Альтернативные исполнения задвижек ст.20: